Έχουμε δει προσπάθειες να κατασκευστούν παπούτσια με κορδόνια που
δένονται μόνα τους, αλλά φαίνεται ότι η Nike, πήρε το όλο θέμα πιο
σοβαρά.
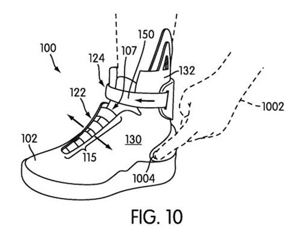
Πατέντες που έχουν κατατεθεί μέσα στο 2009 θυμίζουν κάτι από την ταινία “Back to the future”. Εκτός από τα αυτοδενόμενα κορδόνια, η πρόταση της Nike περιλαμβάνει επίσης φορτιστή και φωτισμό.
Πατέντες που έχουν κατατεθεί μέσα στο 2009 θυμίζουν κάτι από την ταινία “Back to the future”. Εκτός από τα αυτοδενόμενα κορδόνια, η πρόταση της Nike περιλαμβάνει επίσης φορτιστή και φωτισμό.


Δεν υπάρχουν σχόλια:
Δημοσίευση σχολίου
Γράψτε παρακάτω το σχόλιο σας και στην Υποβολή σχολίου ως: επιλέξτε το Ανώνυμος/η και μετά πατήστε την Δημοσίευση σχολίου
Καλό θα είναι (στο τέλος ή την αρχή του σχολίου σας) αν θέλετε να βάζετε το όνομα σας ή ένα ψευδώνυμο.